-
YTW行星齒輪外裝式電動滾筒

將普通電動滾筒中的電動機移出來,筒體內仍有減速機構的滾筒常稱為減速滾筒。減速滾筒再與電動機外聯,就構成了電機外裝式電動滾筒,常簡稱外裝式電動滾筒。
外裝式電動滾筒式介于傳統的電機-減速機-傳動筒的開式傳動與普通電動滾筒驅動之間的一種輸送機驅動裝置,它具有電機在外散熱性能好,而且容易對電機進行維修或更換等優點。在占有空間位置和制造材料方面,均比開式傳動減少三分之一左右,但比普通電動滾筒又增加三分之一左右。
外裝式電動滾筒式目前國內工業要求下的產物,因為從邏輯原理圖上分析,主要部件仍屬串聯聯接,而且至少增加一件傳動軸。從可靠性上分析,并沒有增加可靠性。可是由于它的電機散熱性好,電機的安裝,維修和檢查方便,以及在占據空間位置及制造材料上,比老式的開式傳動優越,所以國內外裝式電動滾筒多用在大功率上。外裝式電動滾筒,由于電機散熱的優點,在某些大功率場合還是較合適的驅動裝置。
外裝式電動滾筒的型式代號
由于外裝式電動滾筒在我國乃至世界上尚屬于帶式傳送機的新型驅動裝置,我國電動滾筒行業尚未制訂統一的產品型式代號。生產外裝式電動滾筒的廠家很多,各廠家的代號不盡相同,而且差別較大,我公司根據JB/T7330-2008標準,設計開發了定軸齒輪,擺線針輪,行星齒輪三種傳動型式的外裝式電動滾筒,其代號如下 :
按JB/T7330-2008標準,配用隔爆電機代號為B,帶逆止器代號為N。
外裝式電動滾筒的傳動結構
(1)YDW型為兩級減速的定軸齒輪傳動結構,根據需要也可制造成三級減速(0.08~0.63米/秒之間的低帶速),齒形,齒輪精度,齒輪材質一般和普通電動滾筒相同。電機功率18.5-45KW時,內部傳動齒輪采用硬齒面制作,屬于定軸齒輪的延伸型新產品。
(2)YZW型擺線針輪傳動結構的外裝式電動滾筒,這是由一級硬齒面的針齒殼輸出的擺線針輪減速機構,轉動嚙合件為軸承鋼制造,硬度達HRC58-62。適合功率11KW-55KW的電動滾筒。
(3)YTW型為硬齒面行星齒輪傳動,采用 NGW原理,其設計與使用壽命均優于其他型號,該產品是大功率(18.5~160KW)帶式輸送*理想的新型驅動裝置。
安裝形式及示意圖
電機懸臂式Ⅰ型(見圖1、表1)
表2
注:Φ 500-Φ 1000筒體及支座部分的安裝尺寸見表1
外裝式電動滾筒與電機的聯接方式
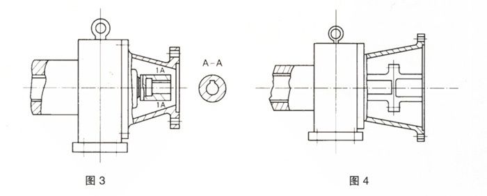
(1)YDW型電機懸臂的外裝式電動滾筒一般采用柱銷式聯軸器聯接(如圖4所示)。外置電機功率1.5-7.5KW的電動滾筒也采用套筒式聯接(如圖3所示)。隨著外裝式電動滾筒的不斷革新與技術進步,我公司將根據用戶要求對聯接方式進行改進,以達到*佳傳動效果。
(2)電機具有安裝支座的外裝式電動滾筒因配用功率較大(一般在45KW-160KW之間),應選用彈性聯軸器或液力耦合器聯接。其電機、彈性柱銷聯軸器及液力耦合器的配用,可根據配用電機功率選型。
外裝式電動滾筒系列參數表借用YZ型擺線針輪系列參數表(點擊查看)
外裝式電動滾筒的附加功能
(1)更適合于筒體包膠或其他覆層。因為主要熱源電機已移至筒體外面,電機的散熱可以不受包膠的影響。
(2)可以方便的改成隔爆型電動滾筒。只需將普通電機更換成隔爆型電機即可,并按隔爆電機要求引入電源和進行維護。
(3)也可以配用調速電機,用于皮帶機需要調速的特殊場合,安裝形式采用Ⅱ型(即電機具有安裝支座,見圖2)。